Театральная

Модератор: Nomernoy

Ответить
Аватара пользователя
karhu
Сообщения: 3938
Зарегистрирован: 31 дек 2008, 19:14
Станция метро: Василеостровская
Откуда: Санкт-Петербург

Re: Театральная

Сообщение karhu »

в40, да уж, с камерой на пересечении намного проще.
Особенно хочу заметить, что на самом деле щиту по 2 пути спешить некогда, и сооружение камеры мог бы подождать.
А метростроители наши смогут всё.
Кмк щит по 2 пути смог бы подожать передачи щита по 1 пути на 572 шахту.

Danyokkk писал(а):Вообще, конечно, логичнее всего было бы в первую очередь строить выход на Лермонтовском, чтобы не перекрывать Театральную площадь и не создавать полный транспортный коллапс. Надеюсь, что город примет правильное решение и решит вопрос с собственниками дома быта.


Зато потом ты будешь прокленать 100 метровый коридор к НХ и лестницу к нему.

А выход на площадь прям с уровня платформы, да ещё и из подземного вестибюля наверняка эскалаторы предусмотрены на поверхность.
"Ключик на 60 дайте, пожалуйста".
Аватара пользователя
в40
Профессионал
Профессионал
Сообщения: 14768
Зарегистрирован: 05 фев 2009, 19:46
Станция метро: Проспект Большевиков
Откуда: Дачное

Re: Театральная

Сообщение в40 »

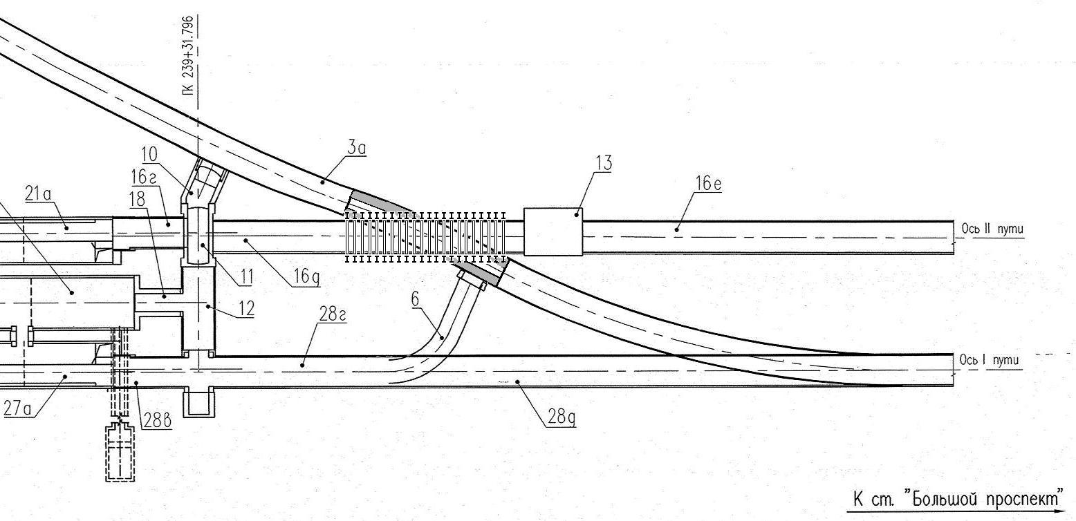
karhu писал(а):Особенно хочу заметить, что на самом деле щиту по 2 пути спешить некогда, и сооружение камеры мог бы подождать.

По моим прикидкам на сооружение демонтажной камеры / разгружающего свода (для разборки щита перед подходным тоннелем) и временной камеры для транзитного прохода щита через зону подходного тоннеля потребуется примерно одинаковое время.
Зато выигрыш очевиден: не нужно терять время на строительство начального участка ППТ и МЩК за станцией (в сторону "Спасской"), полностью исключается необходимость демонтажа и последующего монтажа ТПМК, а также сокращается объём разработки породы при сооружении ПСТ "Театральной" за счёт его прохода пилот-тоннелем.
О=О=О=О=О=О=О=О=О=О=О=О=О=О=О=О=О=О=О
Аватара пользователя
karhu
Сообщения: 3938
Зарегистрирован: 31 дек 2008, 19:14
Станция метро: Василеостровская
Откуда: Санкт-Петербург

Re: Театральная

Сообщение karhu »

И при этом сооружение временной камеры серьёзно не затронет проходку 1 пути?
"Ключик на 60 дайте, пожалуйста".
Аватара пользователя
в40
Профессионал
Профессионал
Сообщения: 14768
Зарегистрирован: 05 фев 2009, 19:46
Станция метро: Проспект Большевиков
Откуда: Дачное

Re: Театральная

Сообщение в40 »

Если в подходном тоннеле забетонировать две пробки (с транспортными ходками для прохода и проезда к щиту на I путь), то можно сооружать камеру параллельно с проходкой ЛПТ.
Вложения
Вариант-2.jpg
О=О=О=О=О=О=О=О=О=О=О=О=О=О=О=О=О=О=О
Аватара пользователя
Kaamoos
Сообщения: 9826
Зарегистрирован: 04 июн 2012, 19:33
Станция метро: Крестовский Остров
Откуда: Ленинград

Re: Театральная

Сообщение Kaamoos »

Станция метро "Театральная" может стать призрачной
По словам председателя комитета, на станции "Большой проспект", следующей после "Театральной", работы идут гораздо быстрее. Возможно, станция "Театральная" повторит судьбу "Адмиралтейской" - здесь с опозданием выполнили выход на поверхность и не закончили в срок работы по отделке. Пока строители завершали строительство станции метро "Адмиралтейская", поезда шли без остановки от "Садовой", а потом "Спасской" до "Спортивной".
Если скорость работ в ближайшее время не изменится, то поезда будут идти от "Садовой" до "Большого проспекта" без остановки.
Напомним, "Театральную" станцию метро планировали запустить в 2019 году, однако активное строительство началось только в 2017-м.
https://www.spbdnevnik.ru/news/2017-10- ... izrachnoy/
It's good to see you again!
Аватара пользователя
Danyokkk
Сообщения: 166
Зарегистрирован: 08 июл 2009, 14:33
Станция метро: Проспект Большевиков

Re: Театральная

Сообщение Danyokkk »

Да все поняли уже давно, товарищ председатель комитета. Зачем повторять-то по сто тысяч раз? Не сыпьте соль на рану! :evil:
Лучше бы решили наконец вопрос с вестибюлем, а не переливали из пустого в порожнее.

P.S. А активная стройка началась в 2016, а не в 2017, если мне память не изменяет.
Следующая станция - Театральная ! ! !
Аватара пользователя
brutal sam
Сообщения: 401
Зарегистрирован: 01 июл 2007, 13:49
Станция метро: Площадь А. Невского-1
Откуда: Санкт-Петербург

Re: Театральная

Сообщение brutal sam »

Журналист: ""Спасская"..."Садовая"..да какая нафиг разница!"
At times i almost dream
Аватара пользователя
в40
Профессионал
Профессионал
Сообщения: 14768
Зарегистрирован: 05 фев 2009, 19:46
Станция метро: Проспект Большевиков
Откуда: Дачное

Re: Театральная

Сообщение в40 »

В статье косяки уже исправили. Однако остался самый главный косяк - смысловой:
Петербургский дневник писал(а):Возможно, станция "Театральная" повторит судьбу "Адмиралтейской" - здесь с опозданием выполнили выход на поверхность и не закончили в срок работы по отделке. Пока строители завершали строительство станции метро "Адмиралтейская", поезда шли без остановки от "Садовой" до "Спортивной".

Если скорость работ в ближайшее время не изменится, то поезда будут идти от "Спасской" до "Большого проспекта" без остановки.

У неискушенного читателя может сложиться мнение, что во всём виноваты строители - медленно работают.
Но, ведь, дело обстояло совсем не так: сначала город никак не мог решить вопрос с местом под вестибюль "Адмиралтейской", из-за чего её даже хотели вообще исключить из проекта. А потом, когда, наконец-то, решение о месте расположения вестибюля станции было принято (распоряжение было подписано мэром СПб А.А.Собчаком), возникли проблемы по расселению домов, подлежащих сносу, и финансированию строительства линии. И только лишь по этим причинам станция не была достроена к открытию участка "Садовая" - "Чкаловская".
Так что, дело не в скорости работ, а в импотенции городских чиновников.
ЗЫ: строители вышли на достройку "Адмиралтейской" только в 2005 году, когда у города появились средства. А с 1997 по 2005 год никаких работ на ней не производилось.
О=О=О=О=О=О=О=О=О=О=О=О=О=О=О=О=О=О=О
Чау-чау
Сообщения: 2586
Зарегистрирован: 26 ноя 2011, 19:20
Станция метро: Шкиперская

Re: Театральная

Сообщение Чау-чау »

Благодаря слову "здесь" "современный продвинутый" читатель может вообще понять смысл заметки, что это уже на "Театральной" выход на поверхность, пусть и с опозданием, уже готов, а всё держат отделочники. Так что, им следует поторопиться...
lnj
Сообщения: 78
Зарегистрирован: 13 сен 2017, 07:36
Станция метро: Суворовская

Re: Театральная

Сообщение lnj »

Театральную на проход решил строить Оганесян, который сейчас либо под следствием, либо уже сидит. Если правительство города примет решение о месте выхода, то построить вместе с Большим Проспектом вполне реально. Вопрос, когда правительство примет это решение. На самом деле всё просто: надо просуммировать расходы на постройку каждого варианта и выбрать более дешёвый. Сколько времени надо на такие расчёты? Ну, максимум неделю. Почему решение не принимается? Либо в Смольном неграмотные чиновники, не знающие арифметики, либо кто-то заинтересован, чтобы Театральная не строилась. Предлагаю нам, тем кому очень нужна Театральная объединиться, встретиться на приёме у депутата ЗС от Адмиралтейского района Соловьёва С.А., взять его за жабры, вместе с ним поехать в Смольный и долбиться, чтобы это решение было принято в течении нескольких дней.
Чау-чау
Сообщения: 2586
Зарегистрирован: 26 ноя 2011, 19:20
Станция метро: Шкиперская

Re: Театральная

Сообщение Чау-чау »

Дешёвое решение ещё не означает удобное. Для пассажиров.
Аватара пользователя
Danyokkk
Сообщения: 166
Зарегистрирован: 08 июл 2009, 14:33
Станция метро: Проспект Большевиков

Re: Театральная

Сообщение Danyokkk »

Вы спрашиваете: "Кто заинтересован в том, чтобы "Театральная" не строилась?" Я вам расскажу. Армия таксистов, встающих ежедневно в три ряда возле каждой из сцен МТ, в том числе, в местах, где остановка и стоянка запрещены, на инвалидных парковках. Вот уж кто действительно заинтересован в отсутствии метро в этом районе. Очень надеюсь, что у этих структур нет никаких договорённостей с властями (по поводу "замораживания" строительства выходов).
Извините за мои предположения. Это из особо наболевшего.

Кстати, какое-то время назад проскакивала информация о том, что проект выхода должен выйти из экспертизы летом. И ЧТО? Нас в очередной раз кормят байками о крутом упёртом собственнике дома быта и о том, что театр против выхода на площади. Кстати, второе - полнейшая чушь!
Следующая станция - Театральная ! ! !
Аватара пользователя
MetroGnom
Сообщения: 6039
Зарегистрирован: 18 ноя 2010, 16:47
Станция метро: -------

Re: Театральная

Сообщение MetroGnom »

Моё скромное мнение - послать в задницу театр и построить выход на площади. Так и проще и удобнее.
ленинградец
Сообщения: 928
Зарегистрирован: 26 мар 2012, 20:00
Станция метро: Чернышевская

Re: Театральная

Сообщение ленинградец »

Может проще послать владельца дома быта и снести его
Аватара пользователя
Nomernoy
Профессионал
Профессионал
Сообщения: 5176
Зарегистрирован: 10 окт 2005, 16:25
Станция метро: Театральная
Откуда: Санкт-Петербург

Re: Театральная

Сообщение Nomernoy »

ленинградец писал(а):Может проще послать владельца дома быта и снести его


Вы много примеров знаете, когда так легко посылали влиятельных людей в современной России?
Изображение
Ответить

Вернуться в «Строительство и проектирование»